CÁC MÔ HÌNH VÀ QUY TRÌNH TRỒNG CÂY DÂU TÂY

 

CÁC MÔ HÌNH VÀ QUY TRÌNH TRỒNG CÂY DÂU TÂY

(Tài liệu do Farmy tổng hợp từ các nguồn)

1. MÔ HÌNH TRỒNG DÂU TÂY THEO PHƯƠNG PHÁP TRUYỀN THỐNG TRÊN ĐỒNG RUỘNG

Chọn giống

Đối với phương pháp trồng Dâu tây ngoài trời cần chọn những giống có năng suất cao, hiện tại giống được trồng nhiều nhất hiện nay ở Đà Lạt là giống Dâu tây Mỹ Đá. Giống Dâu tây Mỹ Đá là ngày trung tính. Cây sinh trưởng nhanh và dễ bị mẫn cảm với việc thiếu hụt kali. Kích thước trái lớn (trọng lượng khoảng từ 10 – 20 g/trái), màu đỏ sáng, cứng,… phù hợp với quá trình vận chuyển xa.

Quy trình trồng và chăm sóc Chuẩn bị đất trồng

Chọn đất thịt nhẹ, vùng cao ráo, thoát nước tốt. Cây Dâu tây là đối tượng mà sâu bệnh khá phong phú. Ảnh hưởng lớn đến năng suất và chất lượng trái khi thu hoạch, do đó, biện pháp chọn đất, làm đất, xử lý đất cần phải chú trọng đúng mức để hạn chế nguồn bệnh ban đầu lây lan từ đất.

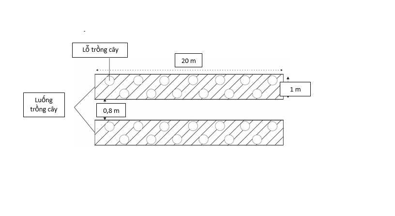
Khoảng cách trồng Dâu tây ngoài trời

 

  • Vệ sinh đồng ruộng, thu dọn tất cả tàn dư cây trồng, cỏ dại.
  • Làm đất và xử lý vôi 100 kg/1.000 m2 và các loại thuốc sâu, thuốc bệnh.
  • Bón lót các loại phân.

Luống trồng:

Luống cao 20 – 25 cm ở vùng đất thấp. Luống cao 15 – 20 cm ở vùng đất cao.
Khoảng cách giữa các luống từ 0,8 – 1m, cây x cây khoảng từ 30 – 40 cm.

Chăm sóc

Ngắt chùm hoa, cắt tỉa ngó

Để cây Dâu tây sinh trưởng mạnh và ổn định trong giai đoạn đầu nên ngắt bỏ chùm hoa bói đầu tiên để tăng cường sinh trưởng và ức chế phát dục.
Trong giai đoạn thu hoạch, để trái lớn đều nên cân đối giữa khả năng phát triển của khung tán và số lượng hoa trái trên cây. Nếu nụ, hoa, trái ra nhiều cần tỉa bớt những nụ, hoa, trái dị dạng và sâu bệnh.

Cây dâu bị bệnh phấn trắng

Nếu không tận dụng ngó để nhân giống thì nên cắt bỏ toàn bộ ngó.
Trong giai đoạn đầu khi thân lá cây Dâu chưa phủ luống có thể để ngó với khoảng cách 15 cm (5 – 6 ngó/cây). Để tăng cường sinh trưởng cây ban đầu, hạn chế ngó đâm rễ phụ trên luống.

Tỉa thân lá

Đảm bảo mật độ phân tán cây Dâu cân đối nên để từ 3 – 4 thân/gốc. Do đặc điểm của giống, chế độ phân bón, thời tiết, chăm sóc khả năng phân tán, ra lá sẽ khác nhau. Cần tỉa bớt các lá già, sâu bệnh, lá bị che khuất tầng dưới. Chú ý không nên tỉa quá nhiều sẽ mất khả năng quang hợp của cây. Các bộ phận của cây sau khi cắt tỉa cần phải tiêu hủy ở xa ruộng để tránh nhiễm nấm bệnh cho cây.

Tưới nước

Đối với cây Dâu nếu ẩm độ đất và không khí cao đều bất lợi đến sinh trưởng cũng như sâu bệnh phát triển, tối ưu nhất với cây Dâu là thiết kế hệ thống tưới ngầm, nhỏ giọt.Khi tưới cho cây Dâu cần sử dụng tuyệt đối nguồn nước sạch, không nên sử dụng nguồn nước mương suối vì dễ nhiễm nguồn bệnh.

Cách bón phân

Cây Dâu đòi hỏi dinh dưỡng đủ và cân đối. Ngoài NPK, cần quan tâm đến nhóm trung lượng, vi lượng vì nó quyết định quan trọng đến chất lượng và khả năng kháng bệnh của cây Dâu. Thâm canh cây Dâu đòi hỏi phải bón đầy đủ phân hữu cơ để bảo đảm lượng mùn trong đất cao (8 – 10%) vì đất Đà Lạt thuộc diện nghèo mùn (Bảng 23).

  • Phân hữu cơ sử dụng cho cây Dâu cần phải ủ nóng, xử lý thuốc nấm bệnh và đạt yêu cầu hoai mục trước khi sử dụng để tránh lây lan nguồn sâu bệnh và cỏ dại.
  • Bón phân đạm cho cây Dâu cần chú ý đến màu sắc của lá, thời kỳ sinh trưởng, tốc độ sinh trưởng phát dục để điều chỉnh liều lượng tăng hay giảm thích hợp.
  • Phân lân ảnh hưởng đến khả năng ra hoa, đậu trái, phát triển hệ rễ và ra ngó (mạ) của cây Dâu.
  • Phân kali quyết định về năng suất, trọng lượng độ cứng, chất lượng trái. Khả năng kháng bệnh của cây Dâu và tăng cường quang hợp trong điều kiện thiếu ánh sáng trong vụ hè thu, nhất là canh tác trong nhà nylon (cây Dâu cần nhiều ánh sáng).
  • Canxi, bo, magiê ảnh hưởng quan trọng đến chất lượng trái. Canxi còn tạo điều kiện cho sự hấp thụ dinh dưỡng và hạn chế một số bệnh sinh lý trên trái.
  • Bo ảnh hưởng đến khả năng phân hóa mầm hoa, đậu hoa, chất lượng và kể cả độ cứng của trái.
  • Lượng phân đề nghị bón cho cây Dâu 1.000 m2 (bình quân) trong năm thứ nhất (kiến thiết cơ bản và định hình).
 

Danh mục

 

Tổng số

 

Bón lót

Bón thúc
 

20 ngày sau trồng

Định kỳ 1tháng/

lần

Phân chuồng Vôi

Supper lân Nitrophoska perfekt 15-5-20

Urê

6 – 7 m3

150 kg

100 kg

6 – 7 m3

150 kg

100 kg

 

 

 

40 kg

 

 

 

40 kg

 

2 kg

 

Ghi chú:

Bón vôi 2 đợt/năm:

  • Đợt 1: Bón lót 100
  • Đợt 2: 06 tháng sau khi trồng bón bổ sung 50

Lượng phân định kỳ bón năm thứ nhất là 10 lần/năm, nếu 02 tháng bón 01 lần thì sử dụng lượng gấp đôi. Nếu sử dụng phân đơn thì mỗi đợt bón phân định kỳ có thể bón 10 kg urê, 08 kg kali sulphate và 06 kg supper lân, thay phân hỗn hợp. Sử dụng acid boric và MgSO4 phun xịt định kỳ qua lá.

Chu kỳ kinh doanh của cây Dâu thu hoạch trái kéo dài đến 02 năm hay hơn. Nếu Dâu tây trên 01 năm tuổi chức năng sinh lý của rễ kém ảnh hưởng đến hấp thụ dưỡng chất, do đó nên bổ sung phân qua lá. Phân này rất đa dạng về chủng loại như đa vi lượng, đa trung lượng định kỳ 10 – 15 ngày xịt 1 lần.

Trung tâm cây hoa giống tại Đà Lạt

Bón phân cho Dâu theo nguyên tắc bón ít nhưng bón nhiều lần trong năm. Lượng phân theo khuyến cáo như trên đối với bón định kỳ có thể tăng hay giảm tùy thuộc vào sức sinh trưởng, phát dục, giai đoạn bội thu, chu kỳ ra trái của cây Dâu.

Kiểm soát một số bệnh hại trên cây Dâu tây Bệnh hại

Bệnh đốm lá: Thường do 2 loại nấm bệnh gây ra

Bệnh đốm lá trắng (Mycosphaerella fragariae): đốm bệnh màu trắng ở phần trung tâm và viền đậm bao quanh. Bệnh gây tổn thương ở thân, lá, cuống hoa, cuống quả gây chết hoa và trái non, bệnh làm giảm năng suất và sức sống của cây.

Bệnh đốm lá đỏ (Phomopsis obsscuans): đốm bệnh có hình quả trứng hay hình tam giác, có màu nâu sáng chuyển sang màu đỏ ở các mô bào giữa các gân lá.

Hình 1. Mội số triệu chứng bệnh rễ trên cây dâu tây. A: Khô vằn lá; B: Thối gốc thân; C: Đen rễ; D: Héo xanh

Biện pháp phòng trị:

Bón phân cân đối NPK. Tỉa các lá bệnh và tiêu hủy ở xa ruộng. Sử dụng các loại thuốc hóa học xịt định kỳ (Rovral 50 WP, Score 250 ND, Toppsin 70 WP, Kasuran 47 WP).

a.   Bệnh mốc sương

Xuất hiện trong điều kiện ẩm độ, nhiệt độ cao lây lan nhanh gây thất thu lớn đến sản lượng và chất lượng trái. Bệnh xuất hiện cả ở trên thân, lá, trái.

Biện pháp phòng trị:

Thực hiện chế độ luân canh. Áp dụng chế độ vệ sinh đồng ruộng, ngắt tỉa thường xuyên lá bị bệnh và đem tiêu hủy ở xa nơi canh tác. Giàn che trồng Dâu phải cao ráo, thông gió. Lên luống cao để tránh úng vào mùa mưa. Không trồng mật độ dày. Tăng cường phân kali cho cây. Sử dụng các loại hóa chất phun xịt định kỳ (Toppsin 70 WP, Dithane M45-80WP Antracol 70WP).

Bệnh phấn trắng (do nấm Sphaerotheca macularis)

Xuất hiện trong điều kiện ẩm độ cao, chế độ lưu thông khí kém, thường phát sinh ở cuống lá, trái.

Biểu hiện bệnh phấn trắng

Biện pháp phòng trị:

Sử dụng các loại hóa chất phun xịt (Score 250ND. Anvil 5SC, Daconil 75WP, Derosal 50SC).

c.   Bệnh thối trái

Bệnh thối trái do nấm Botrtis cinerea: biểu hiện đầu tiên là những đốm nâu sáng sau đó lan rộng cả trái có phủ một lớp mốc xám, sau đó trái khô đi. Bệnh này xâm nhiễm từ giai đoạn quả xanh đến chín.

Bệnh thối trái do nấm Rhizoctonia: vết bệnh ban đầu có màu nâu đậm, sau đó chuyển sang thối đen trái. Bệnh lây nhiễm khi trái chín tiếp xúc với đất trồng. Bệnh này xuất hiện chủ yếu ở giai đoạn quả chín.

Biện pháp phòng trị:

  • Chọn đất trồng cao ráo, thoát nước tốt, lên luống
  • Sử dụng chất liệu phủ luống.
  • Bón cân đối NPK, tăng cường kali trong vụ mưa.
  • Luân canh và xử lý đất trước khi trồng.
  • Xịt định kỳ các loại thuốc bệnh.
  • Ngắt bỏ các trái bệnh đem tiêu hủy xa nơi canh tác.

Sâu hại

Nhện đỏ (Tetranichus spp.)

Chích hút nhựa làm cây phát triển kém, giảm năng suất. Nhện thường ký sinh sau
Biện pháp phòng trị:
Vệ sinh đồng ruộng (tàn dư cây trong và cỏ dại).
Xịt các loại thuốc đặc hiệu (Nissorun 5EC, Comite 73EC).

Xem thêm :Các loại bệnh thường gặp trên cây Dâu tây

b. Bọ trĩ, rệp

Phá hoại búp lá, lá non, thân non, chích hút nhựa làm cây suy kiệt, giảm năng suất trong thu hoạch.

Biện pháp phòng trị:

Vệ sinh môi trường. Kiểm tra sớm và phòng trị dứt điểm khi có triệu chứng bị hại. Phun xịt các loại hóa chất trừ sâu (Trebon 10EC – 20WP, Applaud 10WP, Sherpa 25EC).

c. Sâu ăn tạp, sâu cuốn lá

Sâu ăn tạp ký sinh trong phần gốc phá hoại chủ yếu vào ban đêm, ăn lá và phần thân non của cây.
Sâu cuốn lá làm tổ gây cuốn lá, làm ảnh hưởng đến sinh trưởng của cây.

Biện pháp phòng trị:

Áp dụng tốt các biện pháp canh tác, vệ sinh đồng ruộng. Xử lý đất trồng.

Xịt các loại thuốc sâu (Oncol, Mimic 20F, Sumicidin 10EC).

Chú ý: Khi phun không nên sử dụng nồng độ cao và tránh các giai đoạn ra hoa rộ

Thu hoạch

Sau 45 ngày canh tác, dâu tây bắt đầu ra hoa. Sau khi thụ phấn, trái Dâu tây bắt đầu phát triển rất nhanh và sau 30 ngày trái có thể bắt đầu thu hoạch. Thông thường, 2 ngày tiến hành thu hoạch 1 lần. Vì Dâu tây là trái trần, rất dễ bị dập nên cần cẩn thận khi thu hái.

Mô hình canh tác Dâu tây ngoài trời.

1. MÔ HÌNH TRỒNG DÂU TÂY TRÊN GIÀN NGOÀI TRỜI

Phương pháp tiến hành được thực hiện giống như mô hình trồng Dâu ta6y ngoài trời, tuy nhiên, Dâu tây được trồng trong chậu và đặt trên giàn. Giá thể trồng có thể dùngđất, xơ dừa hoặc đất và xơ dừa trộn chung với tỷ lệ 1 : 1. Nhằm tạo độ xốp cho đất cũng như làm giảm trọng lượng của chậu. Với mô hình này, Dâu tây có thể tránh được một số loại bệnh phổ biến đối với hệ rễ Dâu tây như: bệnh Verticillium Wilt (Verticillium albo- atrum), bệnh Red Stele (Phytophthora fgarariae),…

Mô hình trồng Dâu trên giàn ngoài trời

2. MÔ HÌNH TRỒNG DÂU TÂY TRÊN LUỐNG TRONG NHÀ KÍNH

Chọn giống

Giống Dâu tây chọn trồng trong nhà kính theo phương pháp thủy canh nên chọn giống có khả năng tự thụ phấn cao và kháng được 1 số bệnh thường gặp trên Dâu tây như bệnh phấn trắng,… Hiện tại giống trồng phổ biến nhất trong nhà kính ở Đà Lạt là giống Dâu tây New Zealand. Giống New Zealand là giống trung tính, quá trình ra hoa không

phụ thuộc và độ dài của thời gian chiếu sáng. Kích thước và khối lượng quả lớn. Trung bình mỗi quả có trọng lượng từ 20 – 40 g/trái. Trái dài, màu đỏ và có vị ngọt nên rất phù hợp thị yếu của người tiêu dùng.

Quy trình trồng và chăm sóc Dâu tây trên luống trong nhà kính Chuẩn bị nhà kính

Nhà lưới được quét dọn sạch nền, xử lý vôi bột khử trùng, quạt gió để thông thoáng khí. Đường ống dẫn nước tưới và phân bón cũng được làm sạch, các vòi phun được kiểm tra, không bị nghẹt.

Dùng thêm 1 kg Clorin pha với 50 lít nước phun khắp trong nhà trồng, để sát khuẩn trước khi trồng 3 – 5 ngày. Ở xung quanh bên ngoài nhà lưới: phun Aldrin để trừ kiến và côn trùng.

Chuẩn bị đất trồng

Quá trình chuẩn bị đất trong nhà kính cũng tương tự như quá trình trồng ngoài trời. Chọn đất thịt nhẹ, vùng cao ráo, thoát nước tốt. Biện pháp chọn đất, làm đất, xử lý đạt cần phải chú trọng đúng mức để hạn chế nguồn bệnh ban đầu lây lan từ đất.

  • Vệ sinh đồng ruộng thu dọn tất cả tàn dư cây trồng, cỏ dại.
  • Làm đất và xử lý vôi 0,1 kg/m2 và các loại thuốc sâu, thuốc bệnh. Bón lót các loại phân.

Luống trồng:

  • Luống cao 20 – 25 cm ở vùng đất thấp. Luống cao 15 – 20 cm ở vùng đất cao.
  • Khoảng cách giữa các luống từ 0,8 – 1m, Cây x cây khoảng từ 30 – 40 cm. Cần phải phủ nylon trên luống nhằm hạn chế cỏ dại và sâu bệnh.

Chăm sóc

Quá trình chăm sóc đối với cây Dâu tây trồng trên luống trong nhà kính cũng tương tự như trên luống ngoài trời. Giai đoạn đầu phải ngắt chùm hoa bói đầu tiên để tăng cường sự sinh trưởng và ức chế phát dục. Quá trình phát triển cần tỉa những lá già,

sâu bệnh và bị che khuất bởi tầng dưới, các bộ phận của cây sau khi cắt tỉa cần phải tiêu hủy ở xa ruộng. Đến giai đoạn thu hoạch cần phải cân đối giữa khả năng phát triển khung tán và số lượng hoa trên cây, tỉa bớt những nụ hoa, trái dị dạng và sâu bệnh.

Tưới nước và bón phân

Dâu tây là cây sinh trưởng nhanh nên lượng phân bón bổ sung cần rất nhiều. Tuy nhiên, trong mô hình này phân bón sử dụng là phân hóa học được hòa tan chung với nước và tưới theo phương pháp nhỏ giọt.

Nồng độ phân bón được sử dụng như trong bảng 24.

Bảng 24. Nồng độ phân bón theo công thức của Morgan (2006) [30].

Dinh dưỡng Kích thích sinh trưởng (ppm) Kích thích ra hoa (ppm)
N 207 182
P 65 82
K 184 301
Mg 58 58
Ca 221 148
S 77 77
Fe 6,5 6,5
Mn 2,65 2,65
Zn 0,25 0,25
Bo 0,7 0,7
Cu 0,07 0,07
Mo 0,05 0,05

Cách bón

Trong tuần lễ đầu khi trồng mỗi ngày tưới lên 1 gốc cây trung bình khoảng 100 ml với EC = 1 và pH = 6. Tưới làm 2 lần trong ngày.

Tuần thứ 2 trở đi tưới tăng dần đến 200 ml/gốc và số lần tưới tăng lên khoảng 2 lần trong một ngày với EC = 1,4 và pH = 6.

Một số hiện tượng khi thiếu hụt chất dinh dưỡng

Nitơ: lá chuyển sang màu vàng đến đỏ, xuất hiện dầu từ lá già đến là non, rễ và ngó rất nhỏ và mỏng. Hoa và trái rất nhỏ.

Sulphur: lá non sẽ ngã sang màu vàng hoàn toàn và kích thước lá hầu như không được đồng đều. Tuy nhiên, dấu hiệu không rõ ràng trong quá trình hình thành hoa và quả.

Phospho: gân lá già trở nên xanh đậm hơn, thậm chí, còn lan rộng là toàn bộ mặt lá. Thiếu phospho có thể là giảm sinh trưởng và phát triển của cây Dâu.

Kali:lá có biểu hiện hơi nâu và bị khô ngay tại mép lá. Rễ và ngó có kích thước giảm và trái mềm không có mùi thơm.

Magiê: gân lá hơi đỏ ngay giữa tán lá. Kích thước của hoa và quả không bị ảnh hưởng của việc thiếu hụt magiê nhưng quả thường mềm và màu sắc nhạt hơn.

Canxi: đầu mút của lá thường bị cháy và tạo nhiều vết gấp khi lá mở rộng. Rễ và ngó có kích thước giảm, kích thước trái nhỏ, chua. Canxi đóng vai trò quan trọng không những trong quá trình sinh trưởng của cây mà còn trong quá trình sau thu hoạch, duy trì sự sáng bóng của trái.

Bo: là một chất quan trọng khi trồng Dâu tây, giữ vai trò trong quá trình thụ phấn và hình thành hình dạng và kích thước. Cây thiếu bo thường có biểu hiện chậm phát triển, lá bị gấp lại, đôi khi cũng thấy hiện tượng cháy đầu mút lá. Trái thường dị dạng khi thiếu bo.

Sắt: khi thiếu sắt, lá non thường bị vàng trong khi đó gân lá có màu xanh nhạt. Rễ và ngó phát triển chậm lại.

Mangan: thiếu mangan thường có hiện tượng úa vàng ở những tán lá non. Kích thước trái giảm và có màu sắc nhạt.

Đồng:hiện tượng thiếu đồng ít ảnh hưởng và biểu hiện rõ ràng ở cây Dâu tây.

Kẽm: tán lá thường có triệu chứng úa vàng và giảm kích thước lá non khi thiếu kẽm.

Thụ phấn

Dâu tây là cây tự thụ phấn, tuy nhiên, việc thụ phấn không đều dễ dẫn đến trái Dâu

tây dị dạng. Ngoài đồng ruộng việc thụ phấn phải nhờ gió hoặc côn trùng. Khi quy hoạch

vùng trồng dâu tập trung, 1 ha Dâu nên nuôi 2 thùng ong mật để nâng cao tỷ lệ thụ phấn của hoa, đồng thời giảm bớt tỷ lệ trái dị dạng. Khi cây bắt đầu ra bông, vì trong điều kiện nhà lưới không có nhiều gió như ngoài tự nhiên, đồng ruộng và do mô hình thực hiện của dự án nhỏ chỉ 200 m2 nên việc thụ phấn đa phần thực hiện bằng tay. Công việc này được thực hiện liên tục từ thời điểm khi Dâu tây bắt đầu ra bông mỗi ngày.

Kiểm soát một số bệnh hại trên cây Dâu tây

Việc trồng Dâu tây trong nhà kính đã hạn chế một số bệnh phổ biến khi trời mưa và ẩm độ cao như canh tác ngoài trời. Tuy nhiên, cây Dâu tây cũng gặp phải một số bệnh thông thường như dưới đây.

Bệnh hại

Bệnh phấn trắng (do nấm Sphaerotheca macularis) Triệu chứng:
Ban đầu vết bệnh xuất hiện một lớp bột trắng, ta có thể nhìn thấy sau mặt lá, nhưng trên mặt lá, thân, hoa và trái cũng có thể bị nhiễm bệnh. Lá bệnh có khuynh hướng cuốn tròn lên phía trên và để lộ sau mặt lá một lớp bột màu trắng. Những vùng bị nhiễm bệnh thường sẽ héo khô và chết.

Cây dâu bị bệnh phấn trắng

Quá trình nhiễm bệnh:

Những vùng bị nhiễm bệnh có thể phân tán một số lượng lớn mầm bệnh và theo gió, chúng nhanh chóng lây lan qua những cây khỏe mạnh.

Nấm hình thành không phụ thuộc vào ẩm độ trên lá, ngay cả trong điều kiện khô ráo, nấm vẫn có thể xuất hiện. Loại nấm này thường gặp nhiều ở nhà kính và giàn che nylon hơn là canh tác ngoài trời. Nấm phấn trắng lây lan rất nhanh và gây thất thu lớn đến sản lượng Dâu và chất lượng trái. Bệnh gây hại ở các giai đoạn sinh trưởng của cây nhưng gây bệnh nghiêm trọng ở thời kỳ cây đã ra hoa, kết trái.

Biện pháp phòng trừ:

Sử dụng nguồn giống sạch bệnh.

Thực hiện chế độ luân canh với các cây trồng không phải là ký chủ của bệnh phấn trắng. Áp dụng chế độ vệ sinh đồng ruộng, ngắt tỉa thường xuyên các thân lá bị bệnh đem tiêu hủy ở xa ruộng. Dàn che Dâu phải cao và thông gió. Lên luống cao tránh úng vào mùa mưa. Không trồng mật độ dày, tăng cường phân kali cho cây.

Bệnh mốc xám (do nấm Botrytis cinerea) Triệu chứng:
Nấm Botrytis chủ yếu xuất hiện ở giai đoạn quả chín, nhưng trong điều kiện ẩm ướt bệnh có thể gây hại nghiêm trọng. Biểu hiện đầu tiên là những đốm nâu sáng xuất hiện, sau đó lan rộng cả trái và phủ một lớp mốc xám.

Hoa và trái non cũng có thể bị nhiễm bệnh và làm cho trái bị khô. Nhiệt độ tích trữ trái Dâu đã thu hoạch càng cao thì mầm bệnh nhanh chóng lây lan.

Hình 1. Mội số triệu chứng bệnh rễ trên cây dâu tây. A: Khô vằn lá; B: Thối gốc thân; C: Đen rễ; D: Héo xanh

Quá trình nhiễm bệnh:

Mầm bệnh có thể xuất phát từ lá, trái bị nhiễm bệnh còn xót lại trên ruộng và lây lan bởi gió, ngoài ra mầm bệnh cũng có thể đến từ các nguồn bên ngoài ruộng nhưng không phải là nguyên nhân chính gây bệnh.

Bệnh mốc xám phát triển rất mạnh trong điều kiện ẩm độ không khí cao và bề mặt luống ẩm ướt trong điều kiện thời tiết mùa mưa.

Biện pháp phòng trừ:

Thu dọn tất cả các tàn dư của cây bệnh (đốt hoặc chôn xa đồng ruộng). Sử dụng màn phủ bằng rơm hoặc lưới để ngăn trái không tiếp xúc với đất trồng hoặc điều kiện ẩm ướt.

Chọn đất trồng cao ráo, thoát nước tốt, lên luống cao. Bón cân đối NPK, tăng cường kali trong vụ mưa. Luân canh và xử lý đất trước khi trồng. Hạn chế sử dụng hệ thống tưới phun mưa, không tưới vào buổi giữa trưa hoặc xế chiều vì thời gian này sự ẩm ướt sẽ kéo dài. Giữ cho bề mặt luống Dâu luôn được khô ráo. Trái đã thu hoạch nên bảo quản ở nhiệt độ 2 – 4°C để ngăn chặn sự sinh trưởng của nấm bệnh.

Lưu ý: Trong thời gian ẩm độ đất và ẩm độ không khí cao phải rút ngắn thời gian giữa 2 lần phun từ 3 – 4 ngày mới có khả năng hạn chế được bệnh. Phun kỹ vào các chùm trái, giai đoạn hoa nở rộ tránh phun xịt thuốc với nồng độ cao sẽ làm trái dị dạng. Trong vùng đã bị kháng thuốc thì phải thay đổi và sử dụng luân phiên các loại thuốc trừ nấm khác nhau. Dưới điều kiện mưa nhiều và kéo dài thì nấm bệnh rất khó kiểm soát.

Trung tâm cây hoa giống tại Đà Lạt

Bệnh cao su (do nấm Phytophthora cactorum) Triệu chứng:

Cả trái non và trái chín đều bị biến màu. Trái xanh dễ bị cứng và chuyển sang màu nâu. Trái già chuyển sang màu trắng tái, màu đỏ hoặc hơi nâu và hơi mềm. Trái bị bệnh trở nên khô, teo nhỏ lại và dai như cao su.Triệu chứng đặc biệt của bệnh này là trái bị mất hương, vị có mùi khó chịu. Trái bị bệnh có mùi dầu nhớt xe và có vị đắng.

Quá trình nhiễm bệnh:

Nấm có trong đất và xâm nhập lên trái do sự bắn tóe nước khi trời mưa, tưới nước hoặc do trái tiếp xúc với đất trồng.Bệnh lây lan và phát triển nhanh vào mùa mưa và ẩm độ không khí cao.

Biện pháp phòng trừ:

Để kiểm soát bệnh này, ta cần phải kiểm soát lượng nước. Cách ngăn chặn, phòng ngừa ít tốn kém và hiệu quả là dùng màng phủ. Màng phủ cỏ khô và rơm là tốt nhất. Nhưng lớp màng phủ phải đủ dày để trái không bị tiếp xúc với đất trồng và không bị ảnh hưởng bởi sự bắn tóe nước. Biện pháp tốt nhất là phủ một lớp cỏ hoặc rơm khô lên bề mặt đất trồng sau đó phủ một lớp lưới lên trên lớp cỏ. Biện pháp này giúp cho trái Dâu được khô ráo, không những ngăn ngừa được bệnh cao su mà còn ngăn ngừa được nhiều bệnh khác.

Sâu hại:

Cây Dâu tây là đối tượng có sâu bệnh khá phong phú, mặc dù, được trồng trong nhà kính nhưng cây Dâu tây cũng gặp phải một số sâu bệnh phổ biến.

Nhện đỏ (Tetranichus spp.) Đặc điểm gây hại:

Cả nhện đỏ trưởng thành và ấu trùng đều sống tập trung ở mặt dưới phiến lá của những lá non đang chuyển dần sang giai đoạn bánh tẻ. Nhện gây hại bằng cách chích hút dịch của mô tế bào lá làm cho mặt trên của lá bị vàng loang lổ từng đám, hơi nâu ở phía dưới lá. Ta có thể thấy một lớp mạng nhện nhỏ, mịn ở mặt dưới của lá. Nếu gặp điều kiện thuận lợi, nhện sinh sản rất nhanh, mật độ có thể lên đến hàng vài chục con trên một lá, làm cho từng mảng lá bị vàng, khô cháy.

Hoa và trái cũng bị nhện gây hại. Nhện đỏ hút chất dinh dưỡng trong trái làm cho trái bị vàng, sạm và nứt khi trái lớn. Hoa có thể bị thối, rụng.

Nhện đỏ: Tetranycus Urticae

Đặc điểm hình thái và quy luật phát sinh:

Nhện đỏ có kích thước cơ thể rất nhỏ, lấm tấm như cám, mắt thường khó phát hiện. Nhện trưởng thành dài 0,5 – 1 mm, màu hồng, đỏ nhạt, hình cầu (con cái), con đực nhỏ hơn, mình hình bầu dục, hơi nhọn ở đuôi, hai đốt cuối màu đỏ chói, trên mình và chân có nhiều lông cứng. Giai đoạn trưởng thành thường kéo dài từ 10 – 14 ngày.

Nhện trưởng thành đẻ trứng rời rạc ở mặt dưới của phiến lá. Qua kính lúp sẽ thấy trứng hình tròn, lúc mới đẻ có màu trắng hồng, sau đó chuyển hoàn toàn sang màu hồng. Trứng sau khi đẻ khoảng 4 – 5 ngày sẽ nở thành nhện non. Ấu trùng có màu xanh lợt, lúc mới nở chỉ có 6 chân, từ tuổi 2 trở đi cho đến khi trưởng thành chúng có 8 chân. Giai đoạn ấu trùng khoảng 6 – 9 ngày. Mỗi con cái đẻ 1 lần từ 50 – 100 trứng.

Tetranycus Urticae nhện đỏ Liên hệ mua cây dâu tây giống, tư vấn kỹ thuật

Nhện đỏ thường phát sinh và gây hại nặng trong mùa khô nóng hoặc những thời gian bị hạn trong mùa mưa. Nhện đỏ lan truyền nhờ gió và nhờ những sợi tơ, mạng nhện mà chúng tạo ra.

Biện pháp phòng trừ:

Thật mâu thuẫn, điều kiện để chống lại nấm mốc (khô, ráo và nắng) là điều kiện thuận lợi cho nhện đỏ sinh sôi, nảy nở. Vì vậy để đảm bảo ruộng Dâu không bị nấm cũng như nhện đỏ thì người trồng Dâu cần phải biết điều chỉnh chế độ tưới, phương pháp tưới cho hợp lý, đặc biệt là khi thời tiết khô hạn.

Không nên trồng Dâu với mật độ quá dày làm cho tán lá rậm rạp, nhện có điều kiện thuận lợi gây hại nhiều hơn. Mạnh dạn cắt bỏ những lá có mật độ nhện quá cao đã chớm vàng úa đem tiêu hủy để diệt nhện. Có thể dùng các vòi tưới nước có áp suất mạnh xịt mạnh vào mặt dưới của lá để rửa trôi bớt nhện.

Kiểm tra vườn Dâu thường xuyên nếu thấy lá Dâu có những triệu chứng bị nhện đỏ gây hại thì cần kiểm tra kỹ bằng kính lúp để soi tìm nhện ở mặt dưới của lá. Khi ruộng có mật độ nhện cao thì phải phun thuốc để diệt nhện kịp thời. Nhện đỏ có khả năng kháng thuốc cao, vì thế để giảm bớt áp lực gây kháng thuốc cho nhện nên dùng luân phiên nhiều loại thuốc có hiệu quả.

Cách xử lý: Nên lưu ý khi xử lý phải phun ướt đều cả mặt dưới và mặt trên của lá, không nên phun thuốc khi trời nắng nóng quá để tránh hại cây, sau khi xịt thuốc nên bón bổ sung thêm phân để cây nhanh chóng phục hồi.

Bọ trĩ (Frankliniella ) Đặc điểm gây hại:

Bọ trĩ phá hoại búp, lá, thân và trái non. Chúng hút chích nhựa làm cây suy kiệt, giảm năng suất thu hoạch. Hoa bị bệnh chuyển màu nâu và chết. Tuy nhiên trái non vẫn tiếp tục lớn nhưng có màu vàng đồng. Những trái bị triệu chứng này thường nhỏ và cứng hơn, đồng thời những hạt trên bề mặt trái Dâu bị lồi ra. Bề mặt trái Dâu bị rạn và có màu đồng.

Ban đầu bọ trĩ tấn công trên từng buồng trái và từng cây làm cho trái bị biến thành màu vàng đồng. Nếu như cây bị bọ trĩ tấn công nhẹ thì cây bên cạnh không bị ảnh hưởng. Trái lại nếu cây và trái chín bị tấn công quá nặng thì bọ trĩ sẽ chuyển sang tấn công những cây bên cạnh và có thể nhìn thấy trái bị bọ trĩ ăn trên khắp ruộng Dâu.

Thrip tabaci

Đặc điểm hình thái, quy luật phát sinh:

 

Bọ trĩ trưởng thành nhỏ, màu vàng xám, dài 1,2 – 1,4 mm. Cánh trước có hàng lông cứng trên gân cánh, không liên tục. Trứng được đẻ trong mô ở các bộ phận non của cây, một bọ trĩ cái đẻ được 40 – 50 trứng.

Bọ trĩ non màu vàng nhạt, sống và gây hại chung với bọ trĩ trưởng thành. Bọ trĩ thuộc loại côn trùng biến thái trung gian, đẫy sức bọ trĩ non chuyển sang giai đoạn nhộng giả có thể ở trong lá khô hay vỏ cây, nhưng chủ yếu vẫn là ở trong đất.

Ở nhiệt độ 20°C, thời gian phát triển vòng đời của bọ trĩ là 17 – 20 ngày, ở 25°C là 14 – 18 ngày, ở 30°C là 12 – 13 ngày. Một năm có khoảng 20 thế hệ bọ trĩ hoàn thành chu kì phát triển. Màu trắng, màu xanh và tia tử ngoại đều thu hút bọ trĩ.

Ở mật độ thấp, bọ trĩ thường gây hại ở mặt dưới của lá cây, nhưng ở mật độ cao chúng xuất hiện ở cả mặt trên của lá.

Biện pháp phòng trừ:

Nếu chỉ có vài con bọ trĩ trên mỗi hoa thì không có tác hại nhiều, nhưng nếu số lượng này lên đến mười con trên mỗi hoa cần phải phun thuốc ngay.

Phòng trừ bọ trĩ thường gặp rất nhiều khó khăn nếu chúng đang gây hại ở trong ngọn non và trong hoa. Các biện pháp có thể áp dụng là:

+ Vệ sinh đồng ruộng để giảm nguồn bọ trĩ sọc vàng tồn tại và lây lan.

+ Trồng cây trong nhà lưới.

+ Gieo trồng cây con khỏe, phủ đất bằng nylon màu xám trắng. Điều tra chính xác, phun trừ kịp thời những lứa bọ trĩ gây hại giai đoạn cây ra đọt, trái non.

a. Sên, nhớt

Đặc điểm gây hại:

Ốc sên thường xuyên có mặt trên đồng ruộng, nhưng khi trời nắng chúng trốn dưới những nơi có bóng mát và ẩm ướt như lá chết, nylon, đá. Chính nơi đó chúng có thể nằmđẻ trứng. Vào ban đêm hoặc vào những ngày mưa ốc sên và nhớt bò ra ngoài để ăn những cây mục nát và cả trái Dâu. Những vết tổn thương này làm giảm đáng kể giá trị của trái và đó chính là nơi để nấm mốc làm thối trái xâm nhập và phát triển.

Sên, nhớt (Helix aspersa)

Biện pháp phòng ngừa:

Làm giảm những nơi ốc sên và nhớt có thể trốn, nếu được hãy luôn giữ cho ruộng Dâu luôn sạch sẽ và không có xác cây, lá chết. Xử lý đất với thuốc Mocap 3G (50 kg/ha) bằng cách trộn đều vào đất trước khi cày rồi trồng cây và dùng lưới phủ đất để ngăn chặn sên, nhớt. Áp dụng biện pháp thủ công để thu bắt và tiêu diệt tất cả những con sên nhớt trong quá trình cuốc đất, tỉa cây.

Có thể trộn thuốc Bolis 5B với cám rang, rải thành từng đám trên bề mặt luống Dâu để diệt sên và nhớt, nên rải thuốc vào chiều tối và sau khi tưới nước.

Ghi chú:

Hiện nay có hai phương pháp canh tác cây Dâu tây là trồng trong nhà che nylon (trồng trên giàn hoặc trồng trên luống) và trồng ngoài trời trên luống. Hiện tại ở Đà Lạt chủ yếu là canh tác ngoài trời, số hộ canh tác trong nhà nylon rất ít. Các đối tượng gây hại trên Dâu tây ngoài đồng đều xuất hiện đối với Dâu canh tác trong nhà nylon, tuy nhiên, phương pháp sản xuất cây Dâu trong nhà che có các ưu điểm như:

Hạn chế được mức độ gây hại của nhiều loại bệnh như bệnh xì mủ lá, bệnh thối trái phát triển mạnh trong điều kiện mùa mưa. Tuy nhiên nếu thiết kế dàn che không đảm bảo chiều cao, chế độ thông gió không tốt thì ẩm độ sẽ gia tăng đột ngột tại một số thời điểm trong ngày ảnh hưởng đến sinh lý của cây.

Trung tâm cây hoa giống tại Đà Lạt

Hạn chế đất ngập úng, ẩm độ gia tăng và rửa trôi phân bón khi mưa kéo dài hay mưa lớn trong vụ hè thu.Các biểu hiện sinh lý do thiếu hụt các khoáng chất thường không xuất hiện khi canh tác Dâu tây trong nhà kính sử dụng hệ thống tưới nhỏ giọt. Vì lượng phân bón đã được điều chỉnh phù hợp cho sự phát triển trong từng giai đoạn của cây Dâu tây.

Mô hình trồng Dâu tây trên luống trong nhà kính.

Thu hoạch

Khoảng 30 – 40 ngày sau khi được thụ phấn, trái Dâu tây đã to, căng chuyển từ màu xanh sang trắng xanh, chờ quả hơi chớm đỏ là có thể thu hoạch được. Nếu để trái Dâu tây chín quá có thể dễ bị dập trong khi thu hái và vận chuyển.

MÔ HÌNH TRỒNG DÂU TÂY TRÊN GIÀN TRONG NHÀ KÍNH

Các bước thực hiện cũng tương tự như mô hình trồng Dâu tây trên luống trong nhà kính. Tuy nhiên, quá trình canh tác trên giàn có một số điểm khác ở vật liệu trồng như giá thể. Giá thể được thực hiện trong mô hình này là xơ dừa.

Xơ dừa đã được xử lý tiệt trùng, sạch sâu bệnh, khử chát, trộn chung một ít vôi bột.

Chuẩn bị cây giống

Cây giống trồng trong nhà kính có thể là cây mô hoặc cây ngó. Tuy nhiên, việc trồng ngó thuận lợi hơn nhiều, vì ngó sinh trưởng nhanh hơn. Thời gian ra hoa từ 1 – 1,5 tháng sau khi trồng. Trong khi đó cây mô phải mất từ 2 – 2,5 tháng mới ra hoa. Ngó được ươm trong ly nhỏ, khi ngó cao khoảng 15 – 20 cm sẽ tiến hành trồng trong các túi.

Túi có kích thước 80 x 25 x 15 cm. Trên mỗi túi được đục 6 lỗ song song hoặc theo hình zigzag.

Trồng cây

Trồng cây vào trong túi giá thể: khoảng 3 tuần sau khi cho vào ly, các ngó có khoảng 3 – 4 lá thật (cao 15 – 20 cm), chọn ngó khỏe, mập, rễ dài tiến hành chuyển vào túi trồng. Việc trồng cây phải tiến hành trong vòng 1 – 2 ngày để đảm bảo cây khỏe, tỷ lệ sống cao, cây có kích thước đồng đều.

Trước khi trồng 1 ngày phun thuốc Ridomil và thuốc trừ sâu để ngăn nấm bệnh và côn trùng khi chuyển từ vườn ươm sang nhà kính trồng cây.

Mô hình trồng Dâu tây trên giàn trong nhà kính

MÔ HÌNH TRỒNG DÂU TRONG CHẬU TREO HOẶC ĐẶT TRÊN GIÀN TRONG NHÀ KÍNH

Các bước thực hiện của mô hình này cũng tương tự như quá trình thực hiện khi trồng Dâu trong túi trên giàn. Thay vì cho xơ dừa vào túi, thì xơ dừa sẽ được cho vào chậu. Các chậu được treo cần phải chọn những chậu có kích thước vừa phải, vì nếu to quá sẽ làm cho các chậu nặng nên khó treo, nếu nhỏ quá sẽ không đủ giá thể cho cây Dâu phát triển.

Mô hình trồng Dâu dạng treo trong nhà kính.
Mô hình trồng Dâu tây chậu trong nhà kính

Kết luận

Trong 4 mô hình được thực hiện trong dự án: mô hình trồng Dâu tây theo phương pháp truyền thống trên đồng ruộng; mô hình trồng Dâu trên giàn ngoài trời; mô hình trồng Dâu tây trên luống trong nhà kính; mô hình trồng Dâu trong chậu treo hoặc đặt trên giàn trong nhà kính. Các mô hình trồng Dâu trong nhà kính đều có chi phí đầu tư cao trung bình từ 200 – 400 nghìn đồng/m2, gấp nhiều lần so với các phương pháp trồng ở ngoài đồng ruộng.

Trung tâm cây hoa giống tại Đà Lạt

 

Như vậy, đầu tư cho 1.000 m2 có thể lên đến gần 400 triệu đồng. Tuy nhiên, do trồng trong nhà kính nên đã hạn chế được một số lượng lớn bệnh, vì vậy, giảm đáng kể lượng thuốc bảo vệ thực vật và nhân công chăm sóc. Trong khi đó, năng suất bình quân ở cả các mô hình đều tương đương nhau (300 kg/100 m2/năm). Dâu tây được trồng trong nhà kính đều có giá cao hơn so với canh tác ngoài trời từ 30 – 40% vì Dâu tây sạch. Do chi phí đầu tư quá cao nên mô hình trồng trong nhà kính thường ít được các hộ trồng Dâu quan tâm. Và mô hình trồng ngoài trời vẫn thường được lựa chọn hơn.

(Tài liệu do Farmy tổng hợp từ các nguồn)

 

 

GIAO HÀNG MIỄN PHÍ TRÊN TOÀN QUỐC

GỬI THÔNG TIN CHÍNH XÁC VÀO MẪU BÊN DƯỚI ĐỂ ĐẶT HÀNG NHANH HƠN

Địa chỉ bán cây giống, các vườn ươm, trại giống cây trồng và chuyên cây giống đà lạt

Công ty : CÔNG TY TNHH THƯƠNG MẠI DỊCH VỤ FARMY
Địa chỉ VP :Nguyên Tử lực tp đà Lạt
Trụ sở chính : Số 157, Thôn Tân Tiến, Xã Đạ Rsal, Huyện Đam Rông, Tỉnh Lâm Đồng, Việt Nam
Số điện thoại :0903499019

Để lại một bình luận

Email của bạn sẽ không được hiển thị công khai. Các trường bắt buộc được đánh dấu *

Zalo